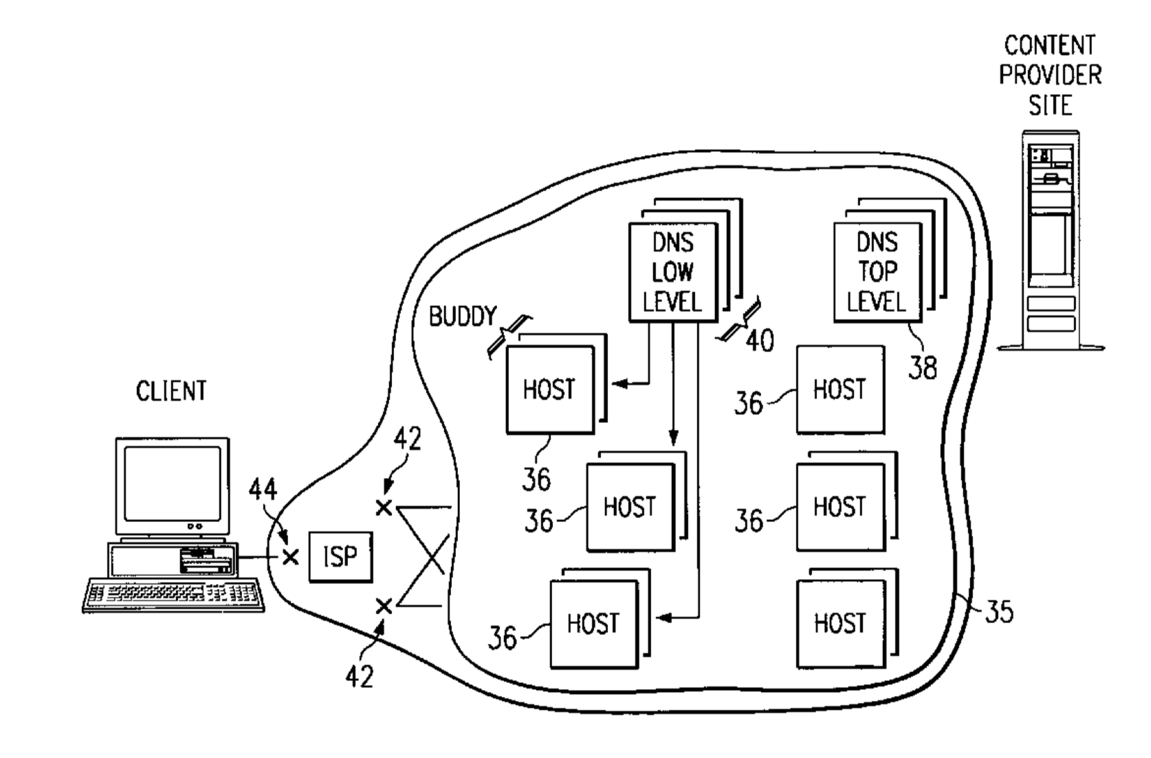
The '703 patent describes the key technological innovations underlying the first Content Delivery Network (CDN) commercialized by Akamai Technologies. This patent has been litigated all the way to the United States Supreme Court, and Tom Leighton and Danny Lewin were recently inducted into the National Inventor's Hall of Fame for this pioneering work.
